
炒股就看金麒麟分析师研报股票配资群,权威,专业,及时,全面,助您挖掘潜力主题机会!
这家总部位于巴黎的政策顾问机构在其年度中期展望中表示,由于电动汽车销量激增和燃油效率提高,到2029年全球石油消费量将在1.056亿桶/日触顶,比去年水平高出约4%。
来源:文轩财经
近日,有不少消费者表示,千禾味业旗下产品包装上显著的“千禾0”并非指代产品零添加,而是该公司注册商标。消费者认为千禾味业此举存在欺骗消费者、打擦边球情况。
近年千禾味业借助“无添加”概念打了个翻身仗,备受瞩目的“千禾0”到底是零添加剂,还是擦边球行为?
1
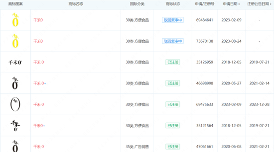
注册多个“千禾0”相关商标
千禾味业成立于1996年,早期以生产食品添加剂“焦糖色”(为酱油上色的添加剂)为主要业务。
财报显示,2015年之前,千禾味业最大的业务是焦糖色,收入占比约为50%,调味品(酱油+食醋等)的占比不足40%。2015年之后,企业逐步将业务发展重心聚焦到毛利率较高的调味品业务上。
目前,千禾味业主要是以酱油、食醋、料酒、焦糖色等为主营业务,其中酱油、食醋为千禾味业近年来的重点发展业务。
2007年,千禾味业提出“零添加”概念,但对此概念事实上一直争议不断。2008年,千禾味业推出首款“零添加”产品。此后,千禾味业便围绕“零添加”概念注册一系列商标。
工商资料显示,目前千禾味业食品有限公司商标信息有339个。其中,2018年9月,千禾味业申请并成功注册了30类“千禾零”“千禾零加”“千禾0”“千禾0+”“千禾零零”商标。
值得一提的是,2018年12月5日,千禾味业又申请“千禾零添加”商标,但该商标未通过。随后的12月21日,千禾味业又更改字眼申请“千禾零添佳”商标,仍未通过。
零添加商标注册失败后,在2020年5月、6月,千禾味业申请并通过注册了“千禾0”商标。
其产品以“千禾0”为标志,在这些调味料产品的包装上,“0”字突出醒目。商家不说的情况下,大多消费者是难以发现这只是个商标。
2
“0添加”助推业绩一路高涨
2022年国庆期间,海天味业因陷入“双标门”事件成为社会广泛关注的焦点。而主打“零添加”的千禾味业,似乎成为了当时风波的一大赢家。
财报显示,2022年海天味业实现营收256.10亿元,同比增长2.42%,营收增速在这一年明显放缓。对比之下,千禾味业在2022年实现营收24.36亿元,同比大幅增长26.55%。
到了2023年前三季度,海天味业实现营收186.5亿元,同比下降2.33%;这也是海天味业上市以来,首次出现前三季度营收负增长的情况。
对比之下,财报显示,2023年前三季度,千禾味业实现营收23.31亿元,同比大幅增长50.04%。
随着“零添加”调味料在市场上备受青睐,千禾味业的业绩一路高涨。
公开财报显示,2021至2023年,千禾味业分别实现营收19.25亿元、24.36亿元、32.07亿元,分别同比增长13.7%、26.55%、31.62%;同期净利润分别为2.21亿元、3.44亿元、5.3亿元,分别同比增长7.58%、55.35%、54.22%。
在文轩智库专家、中国食品产业分析师朱丹蓬看来,虽然千禾味业业绩增速一度迅猛,但“零添加”这种概念只是一种噱头,是差异化营销的一种方式。
3
行业内卷,“0添加”不是护城河
零添加产品赛道如今愈发火热,在目前的调味品市场中,包装上标有“零添加”字样的商品比比皆是,除了千禾味业0添加系列,还有李锦(金麒麟分析师)记的“零添加防腐剂”生抽,海天味业的“零添加”金标生抽等。
以海天味业为例,早在2014年,其就推出第一款“0添加”酱油——海天老字号零添加头道酱油,此后陆续推出系列产品。因此,“0添加”调味品,技术门槛并不高,也很难为企业构建起产品核心壁垒。
|企查查,海天也注册了“0”相关的商标
随着参与者的不断涌入,“零添加”调味料赛道竞争越来越激烈,千禾味业增长速度也开始放缓。
2024年,千禾味业实现营业收入8.95亿元,同比增长9.28%,归母净利润为1.55亿元,同比增长6.66%。但这与2023年一季度营收69.81%、归母净利润162.94%的涨幅相比,增长速度明显放慢。
实际上,早在2023年四季度,千禾味业营收、净利润双双出现下滑,其中营收下滑0.82%、净利润下滑8.47%。
在2024年一季度业绩说明会上,千禾味业董事长伍超群表示,目前行业竞争更加激烈,消费分级、分众趋势明显。
整个市场来看,据Euromonitor的酱油零售数据,2020年我国酱油板块的CR5为16.80%。其中,海天味业占7.30%排名第一,其余公司的零售份额占比不足5%。
市场规模来看,海天味业处于第一梯队玩家,千禾味业和中炬高新属于第二梯队玩家。经销商数量上,截至2024年一季度,海天味业经销商量为6506家,千禾味业经销商则为3356家,差距依然明显。
由于海天味业规模更大,也更容易发挥行业龙头影响力,通过价格战抢占市场份额,可能会对千禾味业带来较大压力。
行业一旦“内卷”,就易陷入价格战。千禾味业年报提及:调味品市场存量竞争更加激烈,企业进一步调整产品价格带,打折促销力度加大、频次增多。
据财报显示,2019年至2023年,千禾味业毛利率分别为46.21%、43.85%、40.38%、36.56%、37.15%,整体呈下降趋势。2024一季度毛利率降至35.96%。
无论是酱油还是醋,千禾味业后期的市场拓展难度依旧较大,营销宣传、渠道建设都需要大量投入,激烈的市场竞争下,千禾味业仍需不断提升自己的核心竞争力。
4
股东 高管多次减持套现
从公司自身来看,千禾味业企业股权结构较为集中,家族企业特征明显,公司实际控制人为公司董事长兼总经理伍超群先生。
1996年,伍超群辞去了国企的工作,与哥哥伍学明一起创办了眉山恒泰实业有限公司。兄弟二人一个稳重懂技术,一个善于市场开拓。他们瞄准了食品添加剂市场,生产焦糖色等产品,为下游调味品企业提供原料。
伍超群很快发现,上游焦糖色产品利润微薄,下游酱油毛利高。伍超群敏锐地察觉到了调味品市场的巨大潜力,他决定,自己生产酱油。2001年,千禾味业食品股份有限公司应运而生,开始涉足酱油、蚝油等调味品的生产领域。
在伍超群的带领下,千禾味业不断发展壮大,并于2016年成功在上海证券交易所上市。这不仅为企业带来了更多的资金支持,也让伍超群和他家族的财富实现了质的飞跃。
Wind显示,2024年一季度,伍超群、侄儿伍建勇、哥哥伍学明为千禾味业第一、二、四的股东,持股比例分别为40.67%、9.16%和1.1%,合计持股50.93%。
计算来看,伍氏家族合计持有股份较2022年上升了3.5%,股权集中度增高。
2021年,他更是以58亿人民币的身家荣登胡润富豪榜。然而,就在公司股价频频创出新高之际,伍超群却开始频频减持套现。有数据显示,自2020年以来,他累计减持了数千万股,套现金额高达数亿人民币。
近年股东多次套现,股价下跌三高管欲再减持。6月2日,千禾味业发布公告称,公司股东何天奎、李进、吕科霖三人因个人资金需求,计划自本减持计划公告之日起15个交易日后的3个月内,以集中竞价交易方式分别减持其所持股份不超过25.8万股、11.66万股和10.95万股,均不超过其所持有股份总数的25%。三人合计减持不超48.41万股。
其实,上述三位董事曾在2023年8月尝试分别减持103.21万股、46.63万股和43.82万股。但2024年2月,千禾味业发布公告称,减持计划时间届满,何天奎、李进、吕科霖均未减持公司股份。
实际上,2020年2月,千禾味业股价从11元左右涨到2021年2月的近35元的高价。在此期间,千禾味业的实控人超群以及多名股东高管纷纷套现。其中,何天奎、吕科霖已经多次减持。
在股价持续下跌的情况下,三名高管仍继续减持,千禾味业方面公告的理由是“个人资金需求”。对未来的担忧或是主要原因。
“千禾味业股价的上涨,以及整个销售情况的火爆,只是阶段性的现象。一方面,消费者对零添加的概念还相对模糊,没有一个清晰的认知,包括消费习惯、消费能力以及消费理念等认知水平还未能达到;另一方面,千禾味业所谓的零添加其实是相对而言,无法做到完全零添加。”朱丹蓬补充道,这个也是它为什么这么多年来整个体量不能快速增长,整个利润不能快速提升,整个股价不能够飘红的一个核心原因,某种意义上,也刺激了一些投资者的离场。
海量资讯、精准解读,尽在新浪财经APP
责任编辑:刘万里 SF014股票配资群
文章为作者独立观点,不代表安全炒股配资门户观点